
汽車生產線應用鏈條應用于汽車自動生產線,傳輸汽車零部件和整車的焊接,噴漆及裝配,鏈條的使用范圍較廣,可以根據不同的需要制造相應的鏈條,鏈條的零件多為中碳鋼,經熱處理,部分有腐蝕的環境我們采用了不銹鋼的材料作為鏈板,用MC尼龍或PA6材料加工滾輪,使鏈條在腐蝕環境中可以正常使用,另外,對有高溫要求的鏈條我們加注了耐高溫的油脂。
汽車生產線應用鏈條適用領域:汽車制造業。

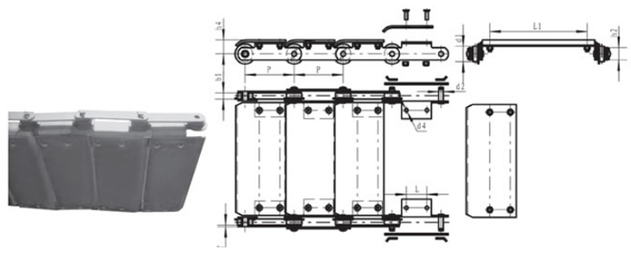
| Pitch P (mm) | Inner width of inner link b1 (mm) | Diameter of pin d2 (mm) | Diameter of roller d1 (mm) | Height of sidebar h2 (mm) | Thickness of sidebar T (mm) | Pitch of attachment L (mm) | Central distance of attachment L1 (mm) | Hole diameter of attachment d4 (mm) | Height of attached side plate h4 (mm) | Tensile strength (KN) |
| 200 | 40 | 25 | 50 | 60 | 6/8 | 120 | 370 | 12 | 75 | 260 |
II Series

| Pitch P (mm) | Inner width of inner link b1 (mm) | Diameter of pin d2 (mm) | Diameter of roller d1 (mm) | Height of sidebar h2 (mm) | Thickness of sidebar T (mm) | Pitch of attachment L (mm) | Central distance of attachment L1 (mm) | Hole diameter of attachment d4 (mm) | Height of attached side plate h4 (mm) | Tensile strength (KN) |
| 200 | 40 | 25 | 50 | 60 | 6/8 | 120 | 370 | M10 | 75 | 260 |
III Series

| pitch P (mm) | Inner width of inner link b1 (mm) | Diameter of pin d2 (mm) | Diameter of roller d1 (mm) | Height of sidebar h2 (mm) | Thickness of sidebar T (mm) | Pitch of attachment L (mm) | Central distance of attachment L1 (mm) | Hole diameter of attachment d4 (mm) | Height of attached side plate h4 (mm) | Tensile strength (KN) |
| 152.4 | 19.5 | 14.8 | 48 | 38 | 5 | 64 | 302.5 | 11 | 43 | 70 |
IV Series

| pitch P (mm) | Inner width of inner link b1 (mm) | Diameter of pin d2 (mm) | Diameter of roller d1 (mm) | Height of sidebar h2 (mm) | Thickness of sidebar T (mm) | Pitch of attachment L (mm) | Central distance of attachment L1 (mm) | Hole diameter of attachment d4 (mm) | Height of attached side plate h4 (mm) | Tensile strength (KN) |
| 250 | 42 | 19 | 40.1 | 50 | 6 | 140 | 116 | 12 | 90 | 160 |
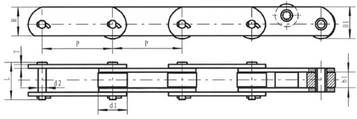
Roller Chain for Automobile Manufacturing Industry
I Series

| Chain No. | Pitch P (mm) | Inner width of inner link b1 (mm) | Diameter of roller d1 (mm) | Height of chain h1 (mm) | Height of sidebar H (mm) | Thickness of sidebar T (mm) | Length of pin L (mm) | Diameter of pin d2 (mm) | Tensile strength (KN) | Weight per meter q (kg/m) |
| 100 | 16.1 | 31.8 | 36.9 | 32 | 32 | 39 | 7.92 | 30 | ||
| 100 | 22 | 40 | 44 | 40 | 4.5 | 44.5 | 11.1 | 70 | ||
| 150 | 22 | 40 | 44 | 40 | 4.5 | 44.5 | 11.1 | 70 | ||
| 125 | 38.5 | 60 | 66 | 60 | 6 | 76 | 11.1 | 160 | ||
| 160 | 38.5 | 60 | 66 | 60 | 6 | 76 | 14.27 | 160 | 15.8 | |
| 200 | 37.1 | 65 | 73.5 | 68 | 8 | 88 | 15.9 | 190 | 13.3 | |
| 250 | 37.1 | 65 | 73.5 | 68 | 8 | 90.5 | 15.9 | 190 | 18.8 | |
| 250 | 51.4 | 80 | 90 | 80 | 10 | 106 | 19.1 | 250 | ||
| 300 | 51.4 | 80 | 90 | 80 | 10 | 106 | 19.1 | 250 | ||
| 300 | 57.2 | 85 | 95.5 | 95 | 10 | 126 | 22.2 | 285 | ||
| 250 | 66.7 | 110 | 112 | 102 | 12.7 | 136 | 25.4 | 485 | ||
| 300 | 66.7 | 100 | 112 | 102 | 12.7 | 136 | 25.4 | 485 | ||
| 400 | 66.7 | 100 | 112 | 102 | 12.7 | 136 | 25.4 | 485 |
II Series 
| Pitch P (mm) | Inner width of inner link b1 (mm) | Diameter of pin d2 (mm) | Diameter of roller d1 (mm) | Height of sidebar h2 (mm) | Thickness of sidebar T (mm) | Length of pin L (mm) | Height of chain h1 (mm) | Tensile strength (KN) |
| 152.4 | 34.9 | 17.45 | 63.5 | 63.5 | 7.9 | 80.96 | 69.85 | 160 |
Roller Chain for Automobile Manufacturing Industry
I Series

| Chain No. | Pitch P (mm) | Inner width of inner link b1 (mm) | Diameter of roller d1 (mm) | Height of chain h1 (mm) | Height of sidebar H (mm) | Thickness of sidebar T (mm) | Length of pin L (mm) | Diameter of pin d2 (mm) | Tensile strength (KN) | Weight per meter q (kg/m) |
| 100 | 16.1 | 31.8 | 36.9 | 32 | 32 | 39 | 7.92 | 30 | ||
| 100 | 22 | 40 | 44 | 40 | 4.5 | 44.5 | 11.1 | 70 | ||
| 150 | 22 | 40 | 44 | 40 | 4.5 | 44.5 | 11.1 | 70 | ||
| 125 | 38.5 | 60 | 66 | 60 | 6 | 76 | 11.1 | 160 | ||
| 160 | 38.5 | 60 | 66 | 60 | 6 | 76 | 14.27 | 160 | 15.8 | |
| 200 | 37.1 | 65 | 73.5 | 68 | 8 | 88 | 15.9 | 190 | 13.3 | |
| 250 | 37.1 | 65 | 73.5 | 68 | 8 | 90.5 | 15.9 | 190 | 18.8 | |
| 250 | 51.4 | 80 | 90 | 80 | 10 | 106 | 19.1 | 250 | ||
| 300 | 51.4 | 80 | 90 | 80 | 10 | 106 | 19.1 | 250 | ||
| 300 | 57.2 | 85 | 95.5 | 95 | 10 | 126 | 22.2 | 285 | ||
| 250 | 66.7 | 110 | 112 | 102 | 12.7 | 136 | 25.4 | 485 | ||
| 300 | 66.7 | 100 | 112 | 102 | 12.7 | 136 | 25.4 | 485 | ||
| 400 | 66.7 | 100 | 112 | 102 | 12.7 | 136 | 25.4 | 485 |
II Series

| Pitch P (mm) | Inner width of inner link b1 (mm) | Diameter of pin d2 (mm) | Diameter of roller d1 (mm) | Height of sidebar h2 (mm) | Thickness of sidebar T (mm) | Length of pin L (mm) | Height of chain h1 (mm) | Tensile strength (KN) |
| 152.4 | 34.9 | 17.45 | 63.5 | 63.5 | 7.9 | 80.96 | 69.85 | 160 |
Related Names
Precision Chain | Forged Scraper Chain | Automotive Assembly Line Parts
Related Names
Precision Chain | Forged Scraper Chain | Automotive Assembly Line Parts


