冶金類輸送鏈適用領(lǐng)域:鋼廠。鏈條使用環(huán)境較為惡劣,并需承受較大的載荷,和較高的溫度。
鏈條選用合金鋼材料,對于有部分需承受較大的載荷的鏈條采用了專用的軸承作為鏈條的轉(zhuǎn)動零件。使鏈條的承載力更大,同時也降低了鏈條的運行負(fù)荷。
This range of conveyor chain is manufactured for metallurgy industry, for instance, in steel mills. To meet the application requirements under severe environments, it is especially crafted to support high load carrying under high temperature conditions. For instance, our alloy steel chains for heavy duty uses adopt special bearings as the rotational part, so as to ensure increased load carrying capacity and reduced operational risks.
Our conveyor chain supports conveying of steel coils and steel sheets as well as steel rollers. In addition, we can offer metallurgy industry-use chains for material cooling and drying, steel ingot lifting, steel pipe pushing and drawing, as well as more purposes.
![]() | ![]() |
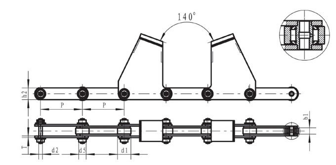
| Chain no. | Pitch P (mm) | Inner width of inner link b1 (mm) | Diameter of roller d1 (mm) | Diameter of pin d2 (mm) | Height of sidebar h2 (mm) | Thickness of sidebar T (mm) | Diameter of outer roller d5 (mm) | Tensile strength Q (KN) |
| 500 | 76 | 160 | 44 | 140 | 20 | 90 | 1300 |

| Chain no. | Pitch P (mm) | Inner width of inner link b1 (mm) | Diameter of roller d1 (mm) | Diameter of pin d2 (mm) | Height of sidebar h2 (mm) | Thickness of sidebar T (mm) | Diameter of outer roller d5 (mm) | Tensile strength Q (KN) |
| 500 | 80 | 160 | 44 | 140 | 20 | 90 | 1300 |
Related Names
Cranked Link Chain | Steel Mill Chain | Slat Conveyor Chain


